
![]() |
Практически у всех регулирующих устройств есть индикатор указывающий в каком положении находится регулятор. Клювик переключателя, риска на ручки переменного сопротивления. Но вот как быть с энкодером? Его ручку можно крутить сколь угодно в разные стороны. Конечно, если в устройстве есть вторичная индикация в виде полосы громкости на экране монитора или цифр на светодиодных индикаторах, то это все упрощает, но как быть если такой индикации не предусмотрено? Тогда, на мой взгляд можно вернуться к простым светодиодным линейкам. Дешево и сердито, а главное функционально. Поискав нечто подобное в интернете, я понял, что все уже придумано и для индикации существуют специальные модули, в виде светодиодной дорожки, расположенной вокруг энкодера. |
|---|
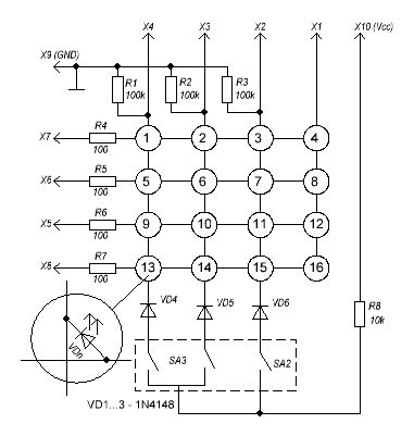
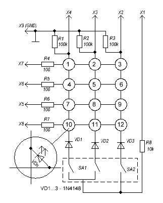
Собственно, ничего нового я не сделал. Просто еще одна версия светодиодного индикатора. Плата специально разведена под выводные элементы т.к. имеет место большое количество перемычек, а их лучше всего делать из откусанных выводов. Схема управляется восемью линиями микроконтроллера с возможностью разделения их на два порта по четыре вывода на каждый. Схема и программа может быть легко модифицирована для подключения не 12, а 16 светодиодов, но для этого также придется изменять печатную плату.
Вот собственно схема устройства.
Резисторы R4…R7 можно подобрать по яркости свечения диодов, R1…R3 смело можно ставить большего номинала, R8 тоже любой от 1 до 10 кОм. VD1…VD3 можно заменить на аналог КД522. Светодиоды можно ставить любые главное, чтобы не перегрузить выводы МК. Если линий МК не хватает для других дел, то линию Х1 можно высвободить, переключив её с порта на Vcc. Эта линия была занята для возможности организовать индикацию 16-ти светодиодов.
Модифицированная схема будет выглядеть вот так.
12-ти диодная схема была применена еще для того чтобы не выходить за габариты платы в 50 мм по высоте. Хотя если постараться, то и 16 диодов можно упихнуть в эти габариты.
Вот фотографии реализации индикатора.
Подпрограмма обработчик организована таким образом, что при каждом заходе в нее происходит переключение индикации, а также обработка данных с энкодера и его кнопки. О том, как подключить энкодер я писал здесь, а о подключении кнопки - вот здесь. Данные, которые передаются из подпрограммы, могут быть четные и нечетные в зависимости от режима. Переключение режима осуществляется нажатием кнопки энкодера. Индикатором режима работы служит зеленый светодиод.
Вот небольшое видео работы индикатора.
А на сегодня всё. Удачи.
04.05.2017
Если вдруг найдете в статье неточности или заблуждения. Напишите мне об этом. Я подправлю.
Приложение: Библиотека, тестовая программа под CVavr, плата и схемы.